
聯系我們
FAG 29460-E1

- 型號:
- 29460-E1
- 品牌:
- FAG
- 系列:
- 294..-E1
- 內徑:
- 300 mm
- 外徑:
- 540 mm
- 厚度:
- 145 mm
- 起訂量:
- ≥ 1套
- 物流:
- 全國配送

- 電話:

恩梯必專業銷售FAG 29460-E1,能為客戶提供各種技術服務,軸承選型及型號替代等解決方案,需要29460-E1最新規格、圖紙、報價等資料可聯系我司銷售部!
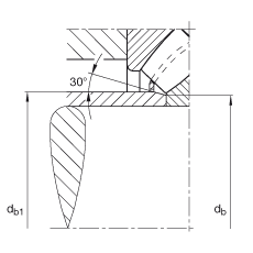
- 尺寸
- db1 max
- 340
- mm
- ra max
- 5
- mm
- rmin
- 6
- mm
- T1
- 70.5
- mm
- T3
- 95
- mm
- T5
- 129.5
- mm
- 重量
- m
- 129800
- g
- 質量
- 基本額定載荷
- Ca
- 5200000
- N
- 基本額定動載荷,軸向
- C0a
- 16200000
- N
- 基本額定靜載荷,軸向
- 尺寸
- d
- 300
- mm
- D
- 540
- mm
- T
- 145
- mm
- A
- 175
- mm
- D1
- 392
- mm
- Da max
- 471
- mm
- Db min
- 550
- mm
- d1
- 490
- mm
- da min
- 420
- mm
- db max
- 324
- mm
- 極限轉速
- nG
- 1180
- r/min
- 極限轉速
- 參考轉速
- nB
- 580
- r/min
- 參考速度
- 疲勞極限載荷
- Cua
- 1520000
- N
- 疲勞極限載荷,軸向
FAG軸承型號搜索
FAG-INA軸承產品中心
產品中心
產品搜索
類別目錄
北京恩梯必科技有限公司版權所有




